Logo-French
Trouver un produit Go to Linkedin Go to Google plus Go to Youtube

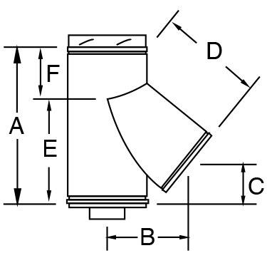
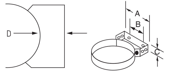
CI